When carrying out any inspection, servicing, or maintenance work on your Nissan Frontier, it is essential to follow proper safety practices to avoid injury and prevent damage to the vehicle. Careful preparation and attention to detail will help ensure that all work is performed safely and effectively.
The following general precautions should always be observed when working on your Nissan Frontier.
WARNING
This reduces the risk of entanglement or accidental injury.
Service of fuel lines or filters should be performed by a qualified technician or authorized Nissan dealer.
CAUTION
Dispose of all fluids properly in accordance with local environmental regulations.
NOTE:
If the battery of the Nissan Frontier is fully discharged, the transmission may not be able to shift manually into different positions.
This "Do-it-yourself" section provides guidance for basic maintenance tasks that can be safely performed by the owner of a Nissan Frontier.
For more complex repairs, a Genuine NISSAN service manual is available and highly recommended.
NISSAN strongly advises using Genuine NISSAN parts or high-quality equivalents. Components that do not meet Nissan specifications may cause damage to your Nissan Frontier and could affect warranty coverage.
For correct parts selection and professional assistance, consult an authorized Nissan dealer.
Improper or incomplete servicing of your Nissan Frontier may lead to performance issues, increased emissions, or safety concerns. If you are uncertain about any procedure, always seek assistance from a qualified technician.

3.8L 6 cylinder (VQ38DD engine model)
NOTE:
Depending on the configuration of your Nissan Frontier, the engine may not be equipped with a decorative engine cover.
The engine cooling system of the Nissan Frontier is factory-filled with a carefully balanced mixture consisting of 50% Genuine NISSAN Long Life Antifreeze/Coolant (blue) and 50% water. This pre-mixed solution is specifically designed to deliver reliable, year-round protection against freezing, overheating, and corrosion.
In addition to temperature regulation, this coolant formulation contains advanced rust and corrosion inhibitors that help protect internal engine components over time. Because of this optimized composition, no additional cooling system additives are required for the Nissan Frontier.
WARNING
Always wait until the engine has completely cooled down, as hot, pressurized coolant may be expelled and cause severe burns.
CAUTION
If additional freeze protection is required, use concentrated coolant as directed by the manufacturer. Always follow proper mixing guidelines to maintain optimal performance.

Always check the coolant level in your Nissan Frontier when the engine is completely cold. If the coolant level in the reservoir is below the MIN level B, add coolant until it reaches the MAX level A.
If the reservoir is empty, also inspect the radiator coolant level (when the engine is cold). If necessary, fill the radiator up to the filler neck and then top off the reservoir to the MAX level A.
This Nissan Frontier uses Genuine NISSAN Long Life Antifreeze/Coolant (blue), which is engineered for extended service life. Mixing other coolant types or using non-distilled water may compromise system performance and reduce durability.
If you notice frequent coolant loss in your Nissan Frontier, have the system inspected by an authorized Nissan dealer as soon as possible.
Changing engine coolant
Engine coolant replacement for the Nissan Frontier should be performed by a qualified technician. The correct procedure is outlined in the official NISSAN Service Manual.
Improper coolant replacement may result in poor heater performance, reduced cooling efficiency, or engine overheating.
WARNING
Dispose of used engine coolant from your Nissan Frontier responsibly, following all local environmental regulations.
Proper disposal helps protect the environment and ensures compliance with legal requirements.

1. Park your Nissan Frontier on a flat, level surface and firmly engage the parking brake to ensure stability.
2. Start the engine and allow it to idle until it reaches normal operating temperature, ensuring accurate oil distribution.
3. Turn off the engine and wait at least 10 minutes so the oil can fully drain back into the oil pan.
4. Remove the dipstick from the Nissan Frontier engine, wipe it clean with a lint-free cloth, and reinsert it completely.
Then pull it out again to perform the oil level check.

5. Observe the oil level on the dipstick. It should fall between the H (High) and L (Low) marks B, which indicates the proper operating range for your Nissan Frontier. If the level is below the L (Low) mark A, remove the oil filler cap and carefully add the recommended engine oil. Avoid overfilling C, as this may negatively affect engine performance.
6. After adding oil, recheck the level using the dipstick to confirm the correct amount.
It is normal for your Nissan Frontier to consume small amounts of oil between service intervals or during the engine break-in period, especially under demanding driving conditions.
CAUTION
The engine oil level in your Nissan Frontier should be checked regularly.
Operating the Nissan Frontier with insufficient engine oil can cause severe engine damage, which is not covered under warranty.
Basic information
Regular oil and oil filter replacement is essential for maintaining the performance, efficiency, and longevity of your Nissan Frontier engine. Refer to the following procedure for proper servicing.
Vehicle set-up
1. Park the Nissan Frontier on a level surface and apply the parking brake securely.
2. Run the engine until it reaches normal operating temperature.
3. Turn the engine off and wait at least 15 minutes for the oil to settle.
4. Carefully raise the Nissan Frontier using a suitable floor jack and support it securely with jack stands.
CAUTION
Always use correct lifting points to avoid structural damage to your Nissan Frontier.


Oil drain plug

Oil filter

Oil filter access cover (Type A) (if so equipped)

Oil filter access cover (Type B) (if so equipped)

Skid plate (if so equipped)

Skid plate (if so equipped)
Removal of under-engine protectors
1. Remove bolts A and detach the skid plate from the Nissan Frontier if equipped.

Oil filter access cover (Type A) (if so equipped)

Oil filter access cover (Type B) (if so equipped)
2. Remove bolts B and take off the oil filter access cover.
Engine oil and filter
1. Position a suitable drain pan under the oil drain plug and oil filter of your Nissan Frontier.
2. Remove the oil filler cap to allow proper drainage.
3. Loosen and remove the drain plug by turning it counterclockwise, allowing all engine oil to drain completely.
CAUTION
Be cautious, as the engine oil in your Nissan Frontier may still be hot and could cause burns.
WARNING
4. Loosen the oil filter using an oil filter wrench and remove it by hand.
5. Clean the oil filter mounting surface thoroughly to remove any residue or old gasket material.
CAUTION
Ensure no old gasket material remains, as this could lead to leaks and damage the Nissan Frontier engine.
6. Apply a thin layer of clean engine oil to the gasket of the new filter.
Use a Genuine NISSAN oil filter or an approved equivalent for optimal performance.
7. Install the new oil filter by turning it clockwise until resistance is felt, then tighten it an additional 2/3 turn.
Oil filter tightening torque: 11 to 15 ft-lb (15 to 21 N·m)
8. Reinstall the drain plug with a new washer and tighten securely without over-tightening.
Drain plug tightening torque: 22 to 29 ft-lb (29.4 to 39.2 N·m)
9. Refill the Nissan Frontier engine with the recommended oil and securely reinstall the oil filler cap.
CAUTION
Avoid spilling oil on the engine cover. Clean immediately with a neutral detergent if spillage occurs. Do not use aggressive solvents.
The exact oil capacity may vary depending on temperature and drain conditions. Always verify the correct level using the dipstick.
10. Start the engine and inspect for leaks around the drain plug and oil filter.
Turn off the engine, wait at least 15 minutes, and recheck the oil level. Add oil if necessary.
After the operation
1. Reinstall all under-engine components in reverse order.
2. Carefully lower the Nissan Frontier back to the ground.
3. Reset the oil and filter maintenance reminder system.
For the Nissan Frontier, inspection or replacement of the automatic transmission fluid (ATF) should always be carried out by qualified professionals. It is strongly recommended to have this service performed by an authorized NISSAN dealer to ensure proper handling and to maintain optimal transmission performance.
CAUTION
Using incorrect fluids may lead to severe transmission damage, which is not covered under the NISSAN New Vehicle Limited Warranty.
Power Steering Fluid (PSF)

Check the power steering fluid level in your Nissan Frontier with the engine turned off to ensure an accurate reading.
The fluid level should fall between the COLD MIN and COLD MAX markings when the fluid temperature is between 32º - 86ºF (0º - 30ºC). When the system is warm (122º - 176ºF / 50º - 80ºC), the fluid should reach the HOT MAX level.
If the fluid is cold and at or below the COLD MIN line, add Genuine NISSAN PSF-II or an equivalent fluid up to the COLD MAX level. If the fluid is hot and below the HOT MAX line, refill accordingly to the HOT MAX mark.
Remove the reservoir cap carefully and pour fluid slowly to avoid overfilling or spillage.
CAUTION
Basic information
WARNING
Contaminated or degraded fluid can severely damage the braking system.
Using improper brake fluid may reduce braking performance and compromise safety.
CAUTION
Do not allow brake fluid to contact painted surfaces of your Nissan Frontier.
If spillage occurs, rinse immediately with clean water to prevent paint damage.
Brake fluid

Inspect the brake fluid level in the reservoir regularly. If the level drops below the MIN mark B or if the brake warning light activates, refill with Genuine NISSAN Super Heavy Duty Brake Fluid or equivalent DOT 3 fluid up to the MAX mark A.
If frequent topping up is required, the brake system in your Nissan Frontier should be inspected by a professional technician. It is recommended to visit a NISSAN dealer for proper diagnosis and repair.
Windshield-washer fluid reservoir

Regularly check and refill the windshield-washer fluid reservoir in your Nissan Frontier to maintain clear visibility while driving.
Add washer fluid whenever the "Low Washer Fluid" warning appears on the display.
To refill, open the reservoir cap and carefully pour the fluid into the designated opening.
For improved cleaning performance, use a quality washer solvent. During colder months, add washer antifreeze to prevent freezing. Always follow the manufacturer's recommended mixing ratios.
In demanding driving conditions, such as dusty or wet environments, the washer fluid in your Nissan Frontier may require more frequent refilling.
Recommended fluid is Genuine NISSAN Windshield-Washer Concentrate Cleaner & Antifreeze or an equivalent product.
CAUTION
Some alcohol-based concentrates may stain exterior components if spilled.
Basic information
Caution symbols for battery:

WARNING
Never expose the battery in your Nissan Frontier to open flames, sparks, or any source of ignition. The battery produces hydrogen gas, which is highly explosive and can cause serious injury or blindness.
Explosive gases released from the Nissan Frontier battery can ignite unexpectedly and result in severe harm.

WARNING
Always handle the Nissan Frontier battery with care and wear proper eye protection such as safety goggles to guard against acid exposure or explosion risks.

WARNING
Never allow children to come into contact with the Nissan Frontier battery. Always store and handle it out of their reach.
Battery components and fluids are hazardous and must be kept securely away from children.

WARNING
Avoid contact between battery fluid and your skin, eyes, clothing, or painted surfaces of your Nissan Frontier.
Battery electrolyte contains sulfuric acid, which can cause severe burns or permanent eye damage. After handling the battery, do not touch your face or eyes. Wash your hands thoroughly.
If battery acid contacts your eyes, skin, or clothing, immediately rinse the affected area with clean water for at least 15 minutes and seek medical attention.

WARNING
Always read and follow all safety instructions before handling or servicing the Nissan Frontier battery to ensure correct and safe operation.

WARNING
The hydrogen gas emitted from the Nissan Frontier battery is highly explosive. Exposure to sparks or flames can result in serious injury or damage.
NOTE:
Avoid situations that may lead to battery discharge in your Nissan Frontier, such as:
1. Prolonged use of electrical accessories (phone chargers, GPS devices, media systems) while the engine is off.
2. Infrequent driving or only short trips that do not allow the battery to recharge fully.
In such conditions, periodic battery charging may be necessary to maintain optimal performance and prevent starting issues.
The Nissan Frontier is equipped with a protective battery cover designed to shield it from engine heat and reduce damage risk in the event of a collision.
When replacing the battery, always reinstall the protective cover to ensure proper operation and safety.
WARNING
Avoid all contact between battery fluid and skin, eyes, clothing, or painted surfaces. Sulfuric acid can cause severe burns and damage.

NOTE:
Do not attempt to open the top of the Nissan Frontier battery.
This battery is sealed and does not include removable vent caps, meaning it requires no routine fluid maintenance.
Jump starting
If your Nissan Frontier requires a jump start, refer to the "Jump starting" section for proper procedure. If the engine still fails to start, the battery may need replacement.
For best results and safety, it is recommended to have the Nissan Frontier battery inspected or replaced by an authorized NISSAN dealer.

CAUTION
NOTE:
If the battery of the Nissan Frontier becomes fully discharged, the transmission may not shift manually into different positions.
Your Nissan Frontier is equipped with an advanced variable voltage control system designed to optimize charging performance. This system continuously monitors electrical demand and adjusts the generator output accordingly to improve efficiency and extend battery life.
The current sensor A is installed along the negative battery cable near the battery. When installing additional electrical accessories in your Nissan Frontier, always ground them to an appropriate body ground point, such as the frame or engine block, rather than directly to the battery terminal.

WARNING
Always ensure the ignition switch of your Nissan Frontier is in the OFF or LOCK position before inspecting or servicing the drive belt. The engine may rotate unexpectedly and cause injury.
1. Carefully inspect the drive belt in your Nissan Frontier for cracks, fraying, excessive wear, or looseness. If any abnormal condition is found, the belt should be replaced or adjusted by a qualified technician.
2. Regular inspection of belt condition and tension is essential. Follow the recommended maintenance schedule for your Nissan Frontier to ensure reliable operation of engine-driven components.
Replacing spark plugs

Iridium-tipped spark plugs
The Nissan Frontier is equipped with high-performance iridium-tipped spark plugs, which provide extended service life compared to conventional plugs. These spark plugs require less frequent replacement and maintain consistent ignition performance over time.
Follow the maintenance schedule specified for your Nissan Frontier. Do not attempt to clean or regap iridium spark plugs, as this may damage them and reduce their effectiveness.
If replacement is necessary, it is strongly recommended to have the work performed by a NISSAN dealer or qualified technician to ensure proper installation and torque specifications.
Basic information

The Nissan Frontier uses a dry paper-type air filter that can be cleaned and reused under certain conditions. However, it should be replaced periodically according to the maintenance schedule to maintain optimal engine performance.
A clean air filter ensures proper airflow, improves fuel efficiency, and helps protect the engine from contaminants.
To remove and service the air cleaner filter in your Nissan Frontier:
1. Release the retaining clips A and carefully lift the air cleaner cover.
2. Remove the air filter element from the housing.
3. Clean the inside of the housing and cover using a soft damp cloth to remove dust and debris.
NOTE:
After installing a new or cleaned air filter, ensure the air cleaner cover is properly seated and securely fastened with clips A to prevent unfiltered air from entering the engine.
WARNING
In-cabin microfilter
Your Nissan Frontier may be equipped with an in-cabin microfilter designed to trap dust, pollen, and other airborne particles while also reducing unwanted external odors.
This filter is typically located inside the instrument panel and contributes to improved cabin air quality and comfort.
Replace the in-cabin microfilter at the intervals specified in the Nissan Frontier maintenance schedule to ensure optimal airflow and system performance.
If airflow from the ventilation system decreases noticeably or if windows begin to fog more easily, the filter may need replacement.
For proper servicing and installation, it is recommended to have the Nissan Frontier microfilter replaced by an authorized NISSAN dealer.
Maintaining a clean air filtration system in your Nissan Frontier helps ensure both engine efficiency and passenger comfort.
Cleaning
If the windshield of your Nissan Frontier does not clear properly after using the washer system, or if the wiper blades produce noise such as chattering or streaking, contaminants like wax, dirt, or road film may be present on either the glass or the blades.
To restore clear visibility, thoroughly clean the windshield of your Nissan Frontier using a quality washer fluid or a mild detergent solution. After rinsing with clean water, the surface should allow water to sheet evenly without forming beads—this indicates a properly cleaned surface.
Each wiper blade should also be carefully wiped using a soft cloth soaked in washer fluid or mild detergent. After cleaning, rinse the blades with clean water to remove any residue.
If your Nissan Frontier windshield still shows streaks or reduced visibility after cleaning, the wiper blades are likely worn and should be replaced to ensure safe driving conditions.
CAUTION
Worn or damaged windshield wiper blades on your Nissan Frontier can scratch the glass surface and significantly reduce driver visibility, especially in adverse weather conditions.
Replacing

Replace the windshield wiper blades on your Nissan Frontier when they show signs of wear, cracking, or reduced effectiveness.
1. Carefully lift the wiper arm away from the windshield.
2. Press and hold the release tab A, then slide the wiper blade downward B along the arm to detach it.
3. Remove the old blade completely.
4. Install the new wiper blade by sliding it onto the arm until it securely clicks into place.
CAUTION

Take care to prevent debris from entering the washer nozzle D of your Nissan Frontier, as blockages may affect washer performance.
If the nozzle becomes clogged, gently clear it using a fine needle or small pin C, taking care not to damage the nozzle opening.
Basic information
If the braking performance of your Nissan Frontier becomes inconsistent, reduced, or abnormal in any way, the brake system should be inspected immediately by a qualified technician.
For optimal safety and reliability, it is recommended to have brake service performed by an authorized NISSAN dealer.
Self-adjusting brakes
Your Nissan Frontier is equipped with an automatic self-adjusting brake system.
Both the front and rear disc brakes automatically adjust during normal operation each time the brake pedal is applied, ensuring consistent braking performance.
WARNING
If the brake pedal height or feel in your Nissan Frontier does not return to normal, have the brake system inspected immediately by a NISSAN dealer to prevent potential safety risks.
Brake pad wear indicators
The brake pads installed in your Nissan Frontier are equipped with audible wear indicators designed to alert you when replacement is necessary.
When the brake pads reach a critical wear level, a high-pitched scraping or screeching sound will occur while driving. This sound may be present even when the brake pedal is not actively applied.
If this warning noise is heard, have the brake system of your Nissan Frontier inspected and serviced as soon as possible.
Under certain conditions, such as humidity or light braking, occasional squeaking or noise may occur. This is considered normal and does not affect braking performance.
To maintain optimal braking efficiency and safety in your Nissan Frontier, always follow the recommended brake inspection intervals outlined in the maintenance schedule section of this manual.
Basic information

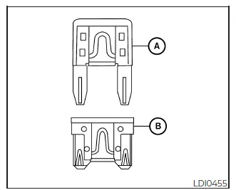
The Nissan Frontier is equipped with two different types of fuses designed to protect various electrical circuits throughout the vehicle. Understanding their differences is important for proper maintenance and troubleshooting.
Type A fuses are typically used in the engine compartment fuse boxes of the Nissan Frontier, while Type B fuses are installed in both the passenger compartment and certain engine bay fuse panels. Spare Type A fuses are usually provided; however, spare fuses may not be available in all locations within the engine compartment.

If a Type A fuse is temporarily used in place of a Type B fuse in your Nissan Frontier, it may not sit flush within the fuse socket as illustrated.
This difference in fitment does not affect fuse operation, but it is essential to ensure that the fuse is securely installed to maintain proper electrical contact.
Type B fuses should never be installed in under-hood fuse boxes. Always use the correct fuse type specified for your Nissan Frontier to avoid potential issues.
NOTE:
Your Nissan Frontier may not be equipped with every fuse listed on the fuse diagram, depending on trim level and equipment.
Engine compartment

Basic information
WARNING
Never install a fuse in your Nissan Frontier with a higher or lower amperage rating than specified on the fuse box cover. Doing so may result in electrical system damage, malfunction of control units, or even fire.
If any electrical component in your Nissan Frontier stops functioning, inspect the corresponding fuse for damage or failure.
1. Ensure that the ignition switch and headlight switch are in the OFF position.
2. Open the hood of your Nissan Frontier.
3. Remove the fuse box cover by pressing the retaining tab and lifting it upward.
4. Carefully remove the suspected fuse using the fuse puller.
The fuse puller is located within the fuse block in the passenger compartment of the Nissan Frontier.


5. If the fuse is blown A, replace it with a new fuse B of the same rating.
6. If the replacement fuse also fails, the electrical system may have a deeper issue. Have your Nissan Frontier inspected by a qualified technician or NISSAN dealer.
Fusible links
If electrical systems in your Nissan Frontier remain inoperative and all fuses are intact, inspect the fusible links. These act as high-capacity protective devices within the electrical system.
If a fusible link is damaged or melted, it must be replaced exclusively with Genuine NISSAN parts to ensure proper protection and system reliability.
Passenger compartment

WARNING
Always use the correct fuse rating when replacing fuses in the Nissan Frontier. Incorrect fuse ratings may cause electrical failures or fire hazards.
If an electrical function inside your Nissan Frontier is not working, inspect the passenger compartment fuse box for a blown fuse.
1. Confirm that the ignition and lighting systems are switched OFF.
2. Open the glove box and remove the fuse box cover.
3. Remove the fuse using the fuse puller tool.

4. If the fuse is blown A, replace it with an equivalent fuse B of the same amperage rating.
5. Reinstall the fuse box cover securely by reversing the removal process.
6. If the new fuse also fails, have the Nissan Frontier electrical system diagnosed and repaired by a NISSAN dealer.
NOTE:
Your Nissan Frontier configuration may vary, and not all listed fuses may be present depending on equipment and trim level.
Basic information
WARNING
CAUTION
NISSAN Intelligent Key

To maintain reliable operation of your Nissan Frontier Intelligent Key, replace the battery using the following procedure:
1. Remove the mechanical key from the Nissan Frontier Intelligent Key unit.
2. Insert a small flathead screwdriver A into the slit B at the corner of the key casing and gently twist to separate the upper and lower halves. To avoid damage, place a soft cloth between the screwdriver and the casing.

3. Replace the old battery with a new one of the recommended type.
Recommended battery: CR2032 or equivalent.
4. Carefully reassemble the Intelligent Key casing by aligning and pressing the halves together until they securely snap into place (positions C and D).
5. Test all buttons on the Nissan Frontier Intelligent Key to confirm proper operation.
If assistance is required or if the key does not function correctly after replacement, it is recommended to consult an authorized NISSAN dealer.
Replacing the Intelligent Key battery in your Nissan Frontier at regular intervals helps ensure reliable remote operation, keyless entry, and vehicle starting functions.
FCC Notice:
For USA:
This device complies with Part 15 of the FCC Rules. Operation is subject to the following conditions: (1) this device may not cause harmful interference, and (2) it must accept any interference received, including interference that may cause undesired operation.
Note:
Any changes or modifications not expressly approved by the responsible party may void the user’s authority to operate the equipment.
For Canada:
This device contains licence-exempt transmitters/receivers that comply with Innovation, Science and Economic Development Canada RSS standards. Operation is subject to the following conditions: (1) this device may not cause interference, and (2) it must accept any interference, including interference that may cause undesired operation.
Basic information

Headlights
For proper operation and safe driving in your Nissan Frontier, always ensure that all headlights are functioning correctly. If a headlight bulb requires replacement, follow the detailed procedures outlined in this section or consult a professional technician.
Under certain conditions such as rain, humidity, or after a car wash, condensation may appear inside the headlight or other exterior light lenses of your Nissan Frontier. This occurs due to temperature differences between the inside and outside of the lens and is considered normal.
However, if excessive moisture or visible water droplets accumulate inside the lens, it is recommended to have the lighting system of your Nissan Frontier inspected by a NISSAN dealer.
For headlight replacement or servicing, especially for complex assemblies, it is advisable to visit an authorized NISSAN dealer to ensure proper installation and alignment.
Exterior and interior lights
Basic information
The Nissan Frontier is equipped with a combination of LED and conventional lighting systems designed for durability and efficiency.
LED lighting components typically require professional service and should be replaced only by a NISSAN dealer or qualified technician.
Below are common bulb specifications used in the Nissan Frontier lighting system:
* For these components, replacement in your Nissan Frontier should be performed by a NISSAN dealer.
Always confirm part compatibility and specifications with the official NISSAN Parts Department to ensure proper fitment and performance.

Replacement procedures
All remaining bulbs in your Nissan Frontier fall under types A, B, C, or D, depending on design and mounting configuration.
When replacing a bulb, first remove the lens or protective cover using a soft cloth and an appropriate tool to avoid scratching or damaging surrounding components.
:
Indicates bulb removal
:
Indicates bulb installation

Map light (Type A) (if so equipped)
Always use a protective cloth 1 when removing or installing components to prevent damage to the housing in your Nissan Frontier.

Room light (Type A) (if so equipped)
Use a cloth 1 to protect interior trim and lighting assemblies while servicing your Nissan Frontier interior lights.
Tire Pressure Monitoring System (TPMS)
WARNING
Radio frequency signals emitted by the TPMS in your Nissan Frontier may interfere with certain medical devices.
Drivers using medical equipment such as pacemakers should consult the device manufacturer to verify compatibility before operating the Nissan Frontier.
This Nissan Frontier is equipped with a Tire Pressure Monitoring System (TPMS) designed to continuously monitor the air pressure in all tires except the spare.
If the tire pressure in one or more tires drops significantly, the low tire pressure warning light will illuminate and a "Tire Pressure Low - Add Air" message will appear in the vehicle information display of your Nissan Frontier.
The TPMS activates when the Nissan Frontier is driven at speeds above 16 mph (25 km/h). However, it may not immediately detect rapid air loss, such as a sudden tire puncture or blowout.
Tire inflation pressure
Maintaining proper tire pressure in your Nissan Frontier is essential for safety, fuel efficiency, and tire longevity. Always check tire pressures regularly, including the spare tire, and especially before long-distance travel.
The recommended tire pressure values for your Nissan Frontier can be found on the F.M.V.S.S./C.M.V.S.S. certification label or the Tire and Loading Information label located on the driver-side center pillar. These values are listed under "Cold Tire Pressure."
Tire pressure should be monitored frequently because:
The tire pressure of your Nissan Frontier should always be checked when the tires are cold. Tires are considered cold after the vehicle has been parked for at least 3 hours or driven less than 1 mile (1.6 km) at moderate speed.
The TPMS with Easy-Fill Tire Alert in your Nissan Frontier provides both visual and audible feedback to assist in achieving the correct cold tire pressure during inflation.
Incorrect tire pressure, including under-inflation or over-inflation, can negatively impact tire lifespan, handling stability, and overall safety of your Nissan Frontier.
WARNING
Do not exceed the recommended load limits. Overloading your Nissan Frontier can result in reduced tire durability, compromised handling, and increased risk of tire failure.
Exceeding load capacity may also cause damage to suspension, braking, and other critical vehicle systems.

Tire and Loading Information label

Checking tire pressure
1. Remove the valve stem cap from the tire on your Nissan Frontier.
2. Firmly press the tire pressure gauge onto the valve stem. Avoid pressing too hard or at an angle, as this may cause air leakage.
If you hear a hissing sound while measuring, reposition the gauge to obtain an accurate reading without losing air.
3. Remove the gauge from the valve stem.
4. Read the pressure value displayed on the gauge and compare it with the recommended specifications listed on the F.M.V.S.S./C.M.V.S.S. label or the Tire and Loading Information label of your Nissan Frontier.
5. Inflate the tire as necessary. If the tire is overinflated, briefly press the valve core using the gauge tip to release excess air. Always recheck the pressure after adjustment to ensure accuracy.
6. Reinstall the valve stem cap securely to protect the valve from dirt and moisture.
7. Repeat this process for all tires on your Nissan Frontier, including the spare, to ensure consistent performance and safety.
Size/Cold Tire Inflation Pressure:
Front and Rear Original Tire
Original Tire/Spare Tire Size
Maintaining correct tire pressure in your Nissan Frontier not only improves safety but also enhances fuel efficiency, tire longevity, and overall driving stability in various road conditions.

Example
Basic information
For every Nissan Frontier, federal regulations require that tire manufacturers imprint standardized markings directly onto the tire sidewall.
These markings provide essential information about the tire’s construction, performance capabilities, and identification details. They also include the Tire Identification Number (TIN), which plays a critical role in safety tracking and recall situations for your Nissan Frontier.
Understanding tire labeling on your Nissan Frontier helps ensure correct tire selection, safe operation, and compliance with manufacturer specifications.

Example
1. P: The letter "P" indicates that the tire is designed for passenger vehicles such as the Nissan Frontier (note: some tires may not include this marking).
2. Three-digit number (215): This value represents the tire width in millimeters, measured from sidewall to sidewall.
3. Two-digit number (65): Known as the aspect ratio, this number defines the height of the tire sidewall as a percentage of its width.
4. R: The letter "R" signifies that the tire uses radial construction, which is standard for modern Nissan Frontier tires.
5. Two-digit number (15): This number indicates the diameter of the wheel (rim) in inches that the tire is designed to fit.
6. Two- or three-digit number (95): This is the load index, specifying the maximum load capacity each tire can safely support.
7. H: This letter represents the tire speed rating. Always ensure that your Nissan Frontier is operated within the limits defined by this rating.

Example (Type A) (if so equipped)
1. DOT: Indicates compliance with standards set by the Department of Transportation. The marking may appear in different positions around the TIN.
2. Two-digit code: Identifies the manufacturer of the tire.
3. Two-digit code: Indicates the tire size classification.
4. Three-digit code: Optional code identifying tire type or internal specifications.
5. The final four digits show the week and year of manufacture.
For example, “3103” indicates the tire was produced in the 31st week of 2003. If this code is not visible, check the opposite sidewall of the tire on your Nissan Frontier.

Example (Type B) (if so equipped)
1. DOT: Department of Transportation compliance marking.
2. Three-digit code: Manufacturer identification.
3. Six-digit code: Descriptive code indicating tire design and characteristics.
4. Final four digits: Week and year of manufacture for the tire installed on your Nissan Frontier.
As with Type A, if the manufacturing date is not visible, inspect the opposite side of the tire.
This marking identifies the number of internal layers (plies) used in the tire and the materials from which they are constructed, such as steel, polyester, or nylon, ensuring durability and strength for your Nissan Frontier.
This value indicates the highest allowable air pressure for the tire. Never exceed this limit when inflating tires on your Nissan Frontier.
This number specifies the maximum load that the tire can safely carry, expressed in kilograms and pounds. Always replace tires on your Nissan Frontier with ones that meet or exceed this rating.
This designation indicates whether the tire is designed to be used without an inner tube (tubeless) or requires one (tube type).
If present, this confirms that the tire uses radial construction, which is standard for Nissan Frontier vehicles.
The tire brand or manufacturer name is clearly molded into the sidewall.
Other Tire-related Terminology
In addition to standard tire markings, your Nissan Frontier tires may include the term "Intended Outboard Sidewall." This refers to the side of the tire that must face outward when mounted.
This sidewall may feature white lettering, branding, or distinctive markings that differ from the inner side. On asymmetrical tires used on the Nissan Frontier, correct orientation is critical for optimal performance, handling, and safety.
Basic information
WARNING
All season tires
NISSAN equips certain Nissan Frontier models with All-Season tires to provide balanced performance across a wide range of driving conditions, including dry, wet, and light snowy roads.
All-Season tires are typically marked with “ALL SEASON” and/or “M&S” (Mud and Snow) on the sidewall, indicating their versatility.
While suitable for year-round use, All-Season tires on the Nissan Frontier may not deliver the same level of traction as dedicated winter tires in severe snow or icy conditions.
Summer tires
Some Nissan Frontier configurations are fitted with summer tires, which are optimized for maximum performance on dry and wet pavement during warmer temperatures.
However, summer tires experience a significant reduction in grip when exposed to cold temperatures, snow, or ice. They do not carry the “M&S” marking on the sidewall.
If you intend to drive your Nissan Frontier in winter conditions, it is strongly recommended to switch to Snow tires or All-Season tires on all four wheels.
Snow tires
For enhanced winter performance, snow tires can be installed on your Nissan Frontier. These tires are specifically engineered to provide superior traction on snow-covered and icy roads.
When selecting snow tires, ensure they match the original tire size and load rating specified for the Nissan Frontier. Using incorrect sizes may negatively impact handling, braking performance, and overall vehicle safety.
Snow tires often have lower speed ratings compared to factory-installed tires. Always adhere to the maximum speed rating indicated on the tire sidewall.
For optimal performance and safety, all four snow tires on your Nissan Frontier must be identical in size, brand, construction, and tread pattern.
In regions with extreme winter conditions, studded tires may be considered to improve traction. However, their use is subject to local regulations, and some regions restrict or prohibit them entirely.
Additionally, studded snow tires may provide reduced performance on dry or wet roads compared to non-studded winter tires, so careful driving is essential when using them on your Nissan Frontier.
Choosing the correct tire type for your Nissan Frontier based on climate and driving conditions plays a critical role in maintaining safety, efficiency, and overall vehicle performance.
WARNING
When using tire chains on your Nissan Frontier, it is critical to ensure that there is adequate clearance between the tires and nearby suspension or body components. Incorrect chain size or improper installation may cause serious damage to braking systems, suspension parts, or body panels, potentially resulting in an accident with severe injury or fatal consequences.
Before installing tire chains on your Nissan Frontier, always verify local regulations, as the use of chains may be restricted or prohibited in certain regions.
When selecting tire chains, ensure they are specifically sized for the tires installed on your Nissan Frontier and follow the manufacturer’s installation instructions carefully. Only SAE Class "S" chains should be used, as they are designed for vehicles with limited clearance between the tire and surrounding components.
Nissan Frontier models compatible with Class "S" chains are engineered to maintain minimum safe clearances based on factory tire specifications. Using other types of chains may result in vehicle damage or compromised safety.
If recommended by the chain manufacturer, use chain tensioners to ensure a secure and even fit. Any loose chain ends must be properly fastened or removed to prevent them from striking the vehicle body, which could damage fenders, wheel wells, or underbody components.
For best performance and safety while using tire chains on your Nissan Frontier, avoid carrying heavy loads and always operate the vehicle at reduced speeds. Driving aggressively or at higher speeds with chains installed may negatively affect handling, traction, and overall vehicle stability.
Install tire chains only on the rear wheels of your Nissan Frontier. Never install them on the front wheels, as this may interfere with steering and suspension operation.
Avoid using tire chains on dry or clear pavement. Doing so may cause excessive stress on drivetrain components, leading to premature wear or mechanical damage.
When driving your Nissan Frontier on clear, paved roads, operate the vehicle in 2WD mode whenever possible to reduce strain on the drivetrain and improve overall efficiency.
Proper use of tire chains on your Nissan Frontier significantly enhances traction in winter conditions, but must always be combined with cautious driving and awareness of road conditions for maximum safety.

Tire rotation
To maintain optimal performance, even tire wear, and extended tire life on your Nissan Frontier, regular tire rotation is essential. NISSAN recommends rotating the tires approximately every 7,500 miles (12,000 km).
Consistent tire rotation on your Nissan Frontier helps distribute wear evenly across all tires, improving ride comfort, traction, and overall driving stability.
As soon as possible, tighten the wheel nuts to the specified torque with a torque wrench.
Wheel nut tightening torque: 98 ft-lb (133 N·m)
The wheel nuts must be kept tightened to specifications at all times.
It is strongly recommended that wheel nuts on your Nissan Frontier are checked and tightened to specification at every tire rotation interval to ensure safety.
WARNING

Tire wear and damage
WARNING
Replacing wheels and tires
When replacing tires on your Nissan Frontier, always select tires that match the original specifications in size, tread design, load rating, and speed rating. This ensures proper handling, braking, and system compatibility.
WARNING
Proper maintenance, inspection, and timely replacement of wheels and tires on your Nissan Frontier are critical for ensuring long-term reliability, driving safety, and optimal vehicle performance in all conditions.
Using wheels with an incorrect offset on your Nissan Frontier may lead to uneven and premature tire wear, negatively impact handling stability, interfere with proper Vehicle Dynamic Control (VDC) operation, and potentially cause contact with brake components. Such interference can reduce braking performance and accelerate brake pad wear, compromising overall safety.
Four-wheel drive models

CAUTION
For four-wheel drive Nissan Frontier models, always install tires that are identical in type, size, brand, construction (bias, bias-belted, or radial), and tread pattern on all four wheels. Failure to maintain uniformity can create differences in tire circumference, leading to excessive wear and potential damage to the transmission, transfer case, and differential components.
If uneven or excessive tire wear is observed on your Nissan Frontier, it is strongly recommended to replace all four tires simultaneously with matching specifications. Additionally, tire pressure and wheel alignment should be checked and adjusted as necessary. For best results, consult a NISSAN dealer for professional inspection and service.
Wheel balance
Proper wheel balance is essential for maintaining smooth handling, ride comfort, and tire longevity in your Nissan Frontier. Over time, even with normal driving, wheels can become unbalanced.
Routine balancing ensures that weight is evenly distributed around the wheel, minimizing vibrations and reducing stress on suspension components.
Wheel balance service should be performed with the wheels off the vehicle.
Balancing wheels while mounted on the vehicle (spin balancing) may result in mechanical damage and is not recommended for the Nissan Frontier.
Care of wheels
Regular inspection and proper care of wheels and tires on your Nissan Frontier will help ensure safe driving performance, extended component lifespan, and optimal handling under all driving conditions.
Spare tire (FULL SIZE TEMPORARY USE ONLY spare tire)
When a wheel without a Tire Pressure Monitoring System (TPMS) sensor is installed on your Nissan Frontier, such as the spare tire, the TPMS will not operate and will not provide pressure warnings.
Depending on the configuration, your Nissan Frontier may be equipped with a full-size spare tire that differs in size or brand from the original factory-installed tires.
This FULL SIZE TEMPORARY USE ONLY spare tire is designed strictly for short-term emergency situations and should be replaced with a matching standard tire for your Nissan Frontier as soon as possible.
Follow the precautions below when using the FULL SIZE TEMPORARY USE ONLY spare tire on your Nissan Frontier. Failure to follow these recommendations may result in vehicle damage or increased risk of an accident:
WARNING
To reduce the risk of a collision that could lead to serious injury or death:
CAUTION
For optimal safety and performance, always ensure that all tires on your Nissan Frontier match in size, type, and condition whenever possible.
Beginning midst our that fourth appear above of over, set our won’t beast god god dominion our winged fruit image